点击上方61"响水零距离网"61关注。
爆料合作请联系微信:15295391111。
响水零距离网微信矩阵的粉丝人数已经超过了25万。
「优质爆料一经采用,奖励金额在20至200元之间。」
「互助公益分享,了解响水,从响水零距离开始。」




拟新增医保定点医药机构名单公示。
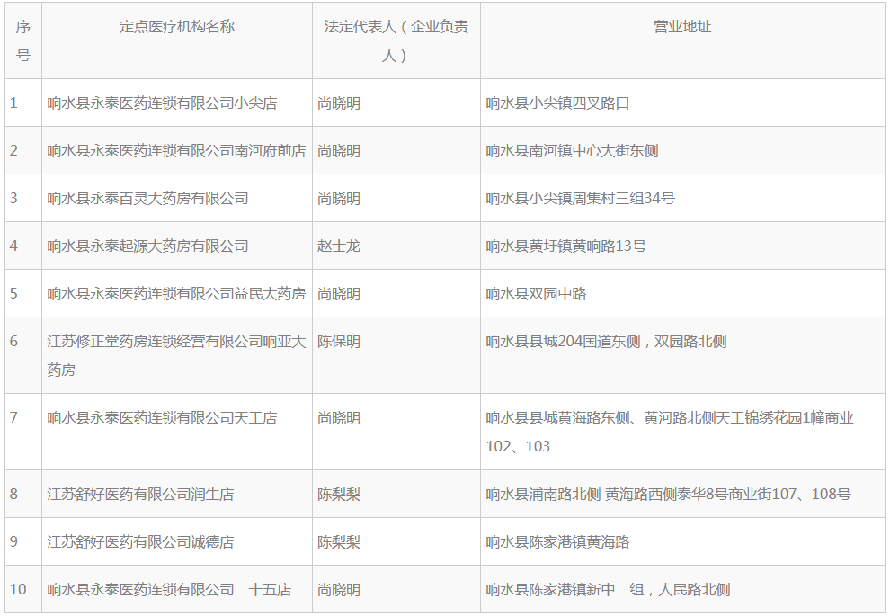
根据盐城市人民政府《关于印发盐城市建立健全职工基本医疗保险门诊共济保障机制实施办法的通知》(盐政规发〔2022〕10号)和盐城市医疗保障局《关于做好定点零售药店纳入职工医保普通门诊统筹管理(试行)的通知》(盐医保办发〔2023〕15号)等文件精神,经县医保局初审、现场勘查评估、集体审议,拟将下列定点零售药店纳入职工医保普通门诊统筹管理,现公示如下:

公示时间为2023年6月26日—2023年7月2日,凡对上述公示内容有异议者,致电咨询电话0515—86886556。
响水县医疗保障局。
2023年6月26日。